现场设备连接及控制器操作步骤
统图:

一、现场设备连接:
1、探测器,手报,消火栓:接信号总线端子Z1,Z2。
2、HX-100B:接信号总线端子Z1,Z2;电源线端子D1,D2。
3、ZF-101,ZF-500:接通讯总线端子A,B;电源线端子D1,D2。
4、GST-LD-8313:接信号总线输入端子Z1,Z2;信号总线输出端子ZO1,ZO2。
5、GST-LD-8300:

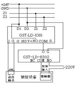
6、GST-LD-8301:

7、检查线路阻值
二、设备编码
用编码器按系统图编号。
三、控制器操作
1.设置板号(限500/5000控制器)
2.控制器接线(信号总线,电源线,通讯总线,联网线)
3.开机注册设备
4.设备定义(手动盘定义)
5.编写联动公式
6.设备检查
7.故障排查
8.功能测试

